OMG-OCEB2-FUND100 OMG-Certified Expert in BPM 2 - Fundamental Free Practice Exam Questions (2026 Updated)
Prepare effectively for your OMG OMG-OCEB2-FUND100 OMG-Certified Expert in BPM 2 - Fundamental certification with our extensive collection of free, high-quality practice questions. Each question is designed to mirror the actual exam format and objectives, complete with comprehensive answers and detailed explanations. Our materials are regularly updated for 2026, ensuring you have the most current resources to build confidence and succeed on your first attempt.
Choose the correct answer:
Which aspect is within the scope for BPMN?
Choose the correct answer:
Which diagram models this situation: For each customer of the company, execute the activities "Request Information", "Receive Information", and "Update Database" in this order?

Choose the correct answer:
Which is a commonly used quality management tool?
Choose the correct answer:
Michael Porter created a strategic thinking framework called Porter's Five Forces.
Which is a set of those forces?
Choose the correct answer:
In the BMM, Directives govern which category?
Choose the correct answer:
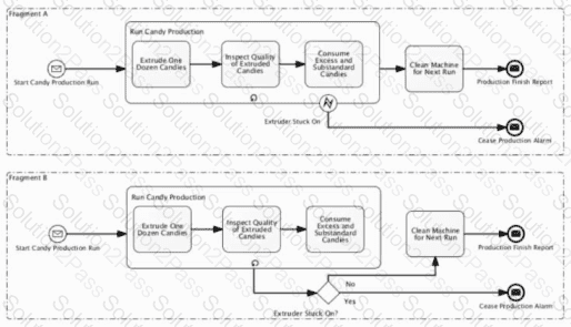
Which statement is true regarding the two diagram fragments?

Choose the correct answer:
What is a heat map?
Choose the correct answer:
Which business function is generally considered a support function?
Choose the correct answer:
Even though models are abstractions, which test must they meet?
Choose the correct answer:
Which statement about Message Flow in BPMN is true?
Choose the correct answer:
Which statement describes the execution flow shown in the diagram?

Choose the correct answer:
Which elements of the Business Motivation Model (BMM) govern Courses of Action?
Choose the correct answer:
What is the key objective of the Sarbanes-Oxley Act?
Choose the correct answer:
A winery notices that its younger consumers—those younger than 30—are buying more Chilean wine. You model this trend as the Business Motivation Model (BMM) element Younger customers buying more Chilean wine.
What is this model element?
Choose the correct answer:
Which statement describes the concept of an End Event in BPMN?
Choose the correct answer:
Which statement describes the marketing process?
Choose the correct answer:
The chief economist of an airline projects increasing costs for jet fuel and believes those costs will hurt the airline's business.
This belief is modeled as which BMM noun concept?
Choose the correct answer:
Which statement is true regarding a black-box Pool?
Choose the correct answer:
Which organizational entities do the process areas of maturity level 2 of the Business Process Maturity Model (BPMM) focus on?
Choose the correct answer:
According to the Business Motivation Model (BMM), what are the parts of a Mission statement?

