OMG-OCSMP-MBI300 OMG-Certified Systems Modeling Professional - Model Builder – Intermediate Free Practice Exam Questions (2026 Updated)
Prepare effectively for your OMG OMG-OCSMP-MBI300 OMG-Certified Systems Modeling Professional - Model Builder – Intermediate certification with our extensive collection of free, high-quality practice questions. Each question is designed to mirror the actual exam format and objectives, complete with comprehensive answers and detailed explanations. Our materials are regularly updated for 2026, ensuring you have the most current resources to build confidence and succeed on your first attempt.
Choose the correct answer.
Given the following diagram:

Which message ordering is valid?
Choose the correct answer
Given the following bdd for a token ring network, in which a token flows from node n to node n+1 except that when it reaches the node at the maximum position n flows to the node at the minimum position.

Which ibd correctly models this behavior?
A)

B)

C)

D)

Choose the correct answer.
Where can a StateInvariant appear?
Choose the correct answer.
When is it possibly useful to create property-specific types?
Choose the correct answer.
The essentials of a laptop battery capacity model are shown In the following diagrams (where the value types W, h and Wh stand for watl, hour, and watt-hour respectively). Assume that the instance values shown are inputs, and that nothing relevant has been omitted.

The designer needs to determine what the energy_capacity of battery 1 should be to enable a laptop usage_time_capacity time of 8 hours. Which combination of the options listed in the text box in the figure will achieve this Intent with minimal changes (including minimal new aspects)?
Choose the correct answer.
Given the following model:

Which statement is true?
Choose the correct answer.
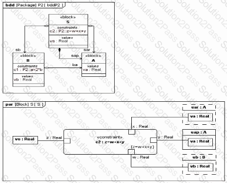
Given the following block structure model:

What is the value of S1.vs when the parametric models are executed for the following instance?

Choose the correct answer.
What is a property that may be calculated by analysis of the model?
Choose the correct answer.
Given the following block:

Which SysML construct correctly models Geographic Coordinate?
A)

B)

C)

D)

Choose the correct answer
A sequence diagram depicts the beginning of a user's session with a piece of interactive software . The diagram must show that the –Software Session is created by some activity of the .User.
Which sequence diagram fragment expresses this?
A)

B)

C)

D)

Choose the correct answer
Which SysML construct is used in an activity diagram to associate an actor of a use case with the actions that actor performs?
Choose the correct answer.
Given the following diagram:

What is element C?
Choose the correct answer.
Which diagram shows that the control system block is in the namespace of the system block?
A)

B)

C)

D)

Choose the correct answer
What does a «rate» applied to an activity edge specify?
Choose the correct answer.
How should a generalization set between Shape (superclass) and subclasses Polygon. Rectangle and Triangle be marked?
Choose the correct answer.
Given the following ibd fragment:

Select the bdd fragment that corresponds
A)

B)

C)

D)

Choose the correct answer.
A project has produced the following initial draft sequence diagram fragment:

Choose the correct answer
What is a best practice to define the package structure for a SysML model?
Choose the correct answer.
The area of a rectangle is calculated through analysis of its height and width:
How is this represented in a model?
A)

B)

C)

D)

E)

Choose the correct answer.
Given the following diagram:

Where should b4 appear In the model hierarchy?
